翅片加热器 用于空气加热

翅片加热器为在标准的管式加热器上附着散热翅片,用于热风鼓风机、干燥器等设备的热源。
该加热器使用STS 304管道加工而成,耐腐蚀,为半永久性耐用。
可以安装在所有韩国制造的空调器或温湿室中。

 
 
 
 
A B C D E F 额定功率(kW)
500 380 60 100 320 15 最大约15kW
750 630 60 100 420 15 最大约24kW
1000 880 60 100 470 15 最大约30kW
1400 1260 70 100 570 15 最大约50kW
1600 1460 70 100 570 15 最大约60kW
单位:mm
说明

* 如果 B 的数值超过1000mm,则需要使用加热器支架。
* 可以定制其它尺寸及额定功率。

 
 
 
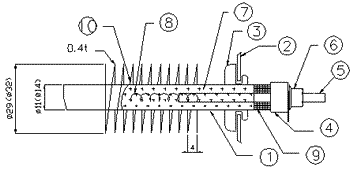
编号 说明 规格
1 翅片加热器 SUS304 (FIN SUS430)
2 框架 GI 1.2t 或 SUS
3 橡胶
4 陶瓷  
5 端子 M5
6 螺母 M5
7 绝缘材料 MgO
8 加热元件 F-1或N-1
9 防水材料