 |
|
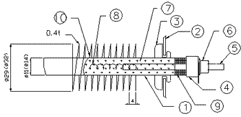
Fin Heater´Â Ç¥ÁØÇü Sheath Heater¿¡ ¹æ¿FINÀ» ºÎÂøÇÑ °ÍÀ¸·Î¼
¿Ç³½Ä ³¹æ±â,°ÇÁ¶±âµîÀÇ ¿¿øÀ¸·Î »ç¿ëµË´Ï´Ù.
ÀÌ ¹æ¿±â´Â STS 304 PIPE·Î Á¦ÀÛµÇ¾î ºÎ½ÄÀÌ ¾øÀ¸¸ç,¹Ý¿µ±¸ÀûÀÎ ¼ö¸íÀ» °¡Áö°í
ÀÖ½À´Ï´Ù.
¶ÇÇÑ ±¹³» ¸ðµç ¿¡¾îÄÜ »ý»ê¾÷ü ¹× Ç׿ÂÇ×½À±â ¾÷üÀÇ ¾î¶°ÇÑ ±âÁ¾¿¡µµ ÀåÂøÀÌ °¡´ÉÇÕ´Ï´Ù.
|