 |
|
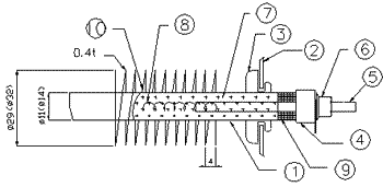
The Fin Heater has heat dissipation
fins attached to a standard Sheath Heater and
is used as heat source for hot air blowers, driers,
etc.Built with STS 304 pipes, the heater is free
of corrosion and last semi-permanently.It can
be attached to any Korean-made air conditioner
or temperature-humidity chamber.
|